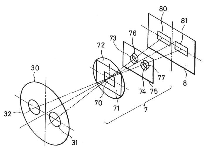
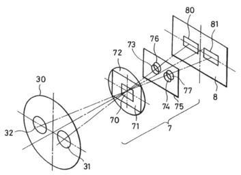
MAKE A MEME View Large Image US pat 5589909 fig 2.png US patent 5589909 fig 2 phase detection system wikitable + Legend compiled from patent text 7 Optical system for focus detection - 8 Image sensor - 30 Plane of the vicinity of the exit pupil of the optical system ...
View Original:US_pat_5589909_fig_2.png (2240x1624)
Download: Original    Medium    Small Thumb
Courtesy of:commons.wikimedia.org More Like This
Keywords: US pat 5589909 fig 2.png US patent 5589909 fig 2 phase detection system wikitable + Legend compiled from patent text 7 Optical system for focus detection - 8 Image sensor - 30 Plane of the vicinity of the exit pupil of the optical system for photography - 31 and 32 Pair of regions - 70 Window - 71 Visual field mask - 72 Condenser lens - 73 and 74 Pair of apertures - 75 Aperture mask - 76 and 77 Pair of reconverging lenses - 80 and 81 Pair of light receiving sections PD-USGov Autofocus diagrams
Terms of Use   Search of the Day