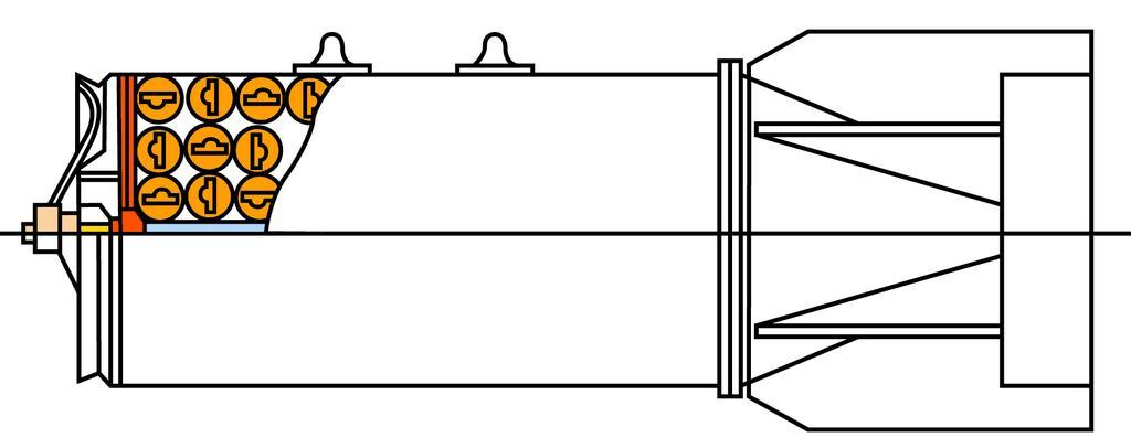
MAKE A MEME View Large Image RBK.png ru РБК Ð¾Ð±Ñ‚ÑŽÑ Ð°Ñ‚Ð¾Ñ Ð½Ð¾Ð³Ð¾ типа own Altoing 2011-04-13 Air-dropped bombs of the Soviet Union Cluster bombs
View Original:RBK.png (2000x793)
Download: Original    Medium    Small Thumb
Courtesy of:commons.wikimedia.org More Like This
Keywords: RBK.png ru РБК Ð¾Ð±Ñ‚ÑŽÑ Ð°Ñ‚Ð¾Ñ Ð½Ð¾Ð³Ð¾ типа own Altoing 2011-04-13 Air-dropped bombs of the Soviet Union Cluster bombs
Terms of Use   Search of the Day