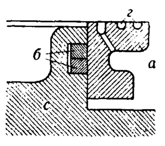
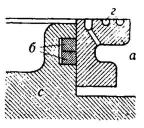
MAKE A MEME View Large Image Adams-zolotnik (ru-tech-enc).png ru Золотник Адамса 1927 Техническая энциклопедия   осква Советская энциклопедия 1927  Т 1 с 294 Советская энциклопедия ...
View Original:Adams-zolotnik_(ru-tech-enc).png (847x753)
Download: Original    Medium    Small Thumb
Courtesy of:commons.wikimedia.org More Like This
Keywords: Adams-zolotnik (ru-tech-enc).png ru Золотник Адамса 1927 Техническая энциклопедия осква Советская энциклопедия 1927 Т 1 с 294 Советская энциклопедия other versions Custom license marker 2015 02 18 PD-Russia Uploaded with UploadWizard Images from Technical Encyclopedia 1927-1936 Steam engines with slide valves
Terms of Use   Search of the Day